DN100 ~ Размеры :DN15 Регулируемый диапазон давления 0.2 ~ 28 bar Рабочее давление : PN16,PN40 Допустимая температура клапана: 350° C
Рабочий диапазон
Саморегулирующийся клапан давления используется для противодействия избыточному давлению системы на установленном значении. Диапазон его регулируемого давления составляет 0,2…28 бар и 3…400 фунтов на квадратный дюйм, а его размер варьируется от DN15 до DN100 или от 1/2" до 4". Номинальное давление составляет PN16 или PN40, рабочие классы — от 150 до 300, а максимальная температура — 350°C или 662°F. Это устройство изготовлено на основе стандартов DIN и ANSI. Клапан 10-73 можно использовать для жидких, негорючих газов и паропроводов.
Функция:
Паровой редукционный клапан типа 10-73 контролирует выходное давление и автоматически поддерживает его на специальном заданном значении. Этот клапан обычно закрыт, и по мере увеличения выходного давления он постепенно открывается. Данный клапан подходит для всех жидкостей, кроме горючих газов. Правильное направление пара в клапане указано одной стрелкой на его корпусе. Входное давление передается на привод по линии управления (через камеру конденсата и соединительную трубку, если жидкостью является пар) и поступает на диафрагму, затем входное давление передается на привод по валу для подключения,
в результате чего заглушка и седло разделяются и открывают выход, и таким образом диапазон давления контролируется. Это устройство имеет одну гармошку, которая уравновешивает разницу входного и выходного давления. Этот клапан является самоуправляемым и не требует дополнительных усилий.
Установка:
Этот клапан подходит только для установки в горизонтальный трубопровод. Направление потока в клапане должно соответствовать стрелке на его корпусе, а привод устройства должен быть установлен вверх дном. Перед обозначением трубопровода обратите внимание на входной и выходной клапан давления, размер и диапазон регулировки.
Чтобы защитить клапан от конденсации трубопровода, трубопровод должен быть установлен с умеренным уклоном к направлению потока, или можно использовать конденсатоотводчик. После установки необходимо убедиться, что клапан не зажат в трубопроводе. В соответствии с уменьшением давления на выходе клапана рекомендуется выбирать больший диаметр для выходной стороны клапана. Чтобы отрегулировать давление на заданном значении, используйте регулировочную нажимную гайку. Для защиты мембраны от пара и дополнительной температуры используется конденсационная камера. Перед запуском эта камера должна быть заполнена водой. Если клапан тяжелый или он зажат в линии, можете использовать опорную стойку, чтобы избежать вибрации. Чтобы предотвратить попадание нежелательных частиц в клапан, используйте подходящий сетчатый фильтр на его входной стороне.
Части и детали
No | Part Name | Деталь |
1 | Valve body | Корпус клапана |
2 | Screw | Винт |
3 | Plug | Вилка |
4 | Seat | Седло |
5 | Gasket | Шайба |
6 | flange | Фланец |
7 | Pressure adjustment nut | Гайка регулировки давления |
8 | Two-sided thread Rod | Двусторонняя резьба Стержень |
9 | Pressure adjustment screw | Винт регулировки давления |
10 | Accordion | Гармошка |
11 | Pressure Adjustment Spring | Пружина регулировки давления |
12 | Top Nut of Spring | Верхняя гайка регулировочного винта |
13 | Top cup of Spring | Крышка верхней части пружины |
14 | Actuator Holder | Держатель привода |
15 | Bellow Part of Actuator | Нижняя часть привода |
16 | Inside Part of Actuator | Внутренняя часть привода |
17 | Diaphragm | Диафрагма |
18 | upper Cupule of Actuator | Верхняя часть привода |

Пояснение:
Если жидкость представляет собой пар, в узел клапана добавляются следующие детали:
Источник конденсата: Источник конденсата используется для защиты диафрагмы от повышения температуры и прямого воздействия пара, а также для обеспечения правильного функционирования диафрагмы. Перед использованием клапана регулирования давления источник конденсата необходимо заполнить водой.
Линия управления (труба 3,8 дюйма): эта трубка используется для передачи давления от линии к приводной части. В старых моделях ответственность за ее обеспечение лежала на заказчике, которая в настоящее время предлагается заказчику в собранном виде.
Соединительный винт: используется для подключения линии управления к приводной части и основанию устройства.
Клапан впрыска воды: используется для заполнения водой источника конденсата, линии управления и привода.
Техническая характеристика
Размер | Size | DN | 15 | 20 | 25 | 32 | 40 | 50 | 65 | 80 | 100 | |||
IN | "1/2 | 3/4" | 1" | - | 1 1/2" | 2" | 2 1/2" | 3" | 4" | |||||
Диаметр отверстия | Orifice Diameter | mm | 22 | 22 | 22 | 40 | 40 | 40 | 65 | 65 | 89 | |||
in | 0.87 | 0.87 | 0.87 | - | 1.57 | 1.57 | 2.56 | 2.56 | 3.50 | |||||
Расход в стандартном режиме | Standard Flow Rate | Kvs | 3.2 | 5 | 8 | 12.5 | 20 | 32 | 50 | 80 | 125 | |||
Cv | 5 | 7.5 | 9.4 | - | 23 | 37 | 60 | 94 | 145 | |||||
Специальный дебит | Custom Flow Rate | Kvs | 0.1,0.4,1, 2.5 | 0.1,0.4,1, 2.5 ,4 | 0.1,0.4,1,2.5, 4 , 6.3 | 5 | 6.3,8, 16 | .8,16,20 | 20,32 | 32 ,50 | 50 | |||
Cv | 0.12, 0.5 , 1. 2 , 3 | 0.12, 0.5,1. 2 , 3 , 5 | 0.12, 0.5 ,1. 2 , 3,5,7.5 | - | 7.5 , 9.4,20 | 9.4, 20,23 | 23,37 | 37, 60 | 60 | |||||
Разница рабочего давления Δp | Working Press. Difference Δp | bar | 25 | 20 | 16 | |||||||||
psi | 360 | 290 | 230 | |||||||||||
Рабочее давление | Working Press. | PN16/25/40 Class150/300 | ||||||||||||
Максимальная температура пробки для герметизации | Max. Temp. of Plug | 350 ˚C & 660 ˚F for metal sealing | 220 ˚C & 430 ˚F PTFE for Soft sealing | |||||||||||
Утечка | Leakage Rate | 0.05% ≤ of Valve Kvs for metal sealing (0.01% of Valve KVS for soft sealing in request) | ||||||||||||
Рабочая температура клапана | Working Temp. | См. диаграмму давления и температуры. | See: Pressure -Temperature table | |||||||||||
Максимально допустимая температура привода с диафрагмы | Max. Allowed Temp. of Actuator with Diaphragm | 80˚C &176˚F | ||||||||||||
Максимально допустимая температура привода с сильфоном | Max. Allowed Temp. of Actuator with Bellows | 200˚C &292˚F | ||||||||||||
Максимально допустимое давление привода с диафрагмы | Max. Allowed Press. of Actuator with Diaphragm | 1.5 fold of valve's set point | ||||||||||||
Максимально допустимое давление привода с сильфоном | Max. Allowed Press. of Actuator with Bellows | 30bar & 435psi | ||||||||||||
Тип привода | Actuator Type | Actuator with Bellows | Actuator with Diaphragm | |||||||||||
Регулируемый диапазон давления | Adjustable Temp. Range | bar | 10…22, 20…28 | 0.2 ... 1, 0.8 ... 2.5, 2 ... 5, 4.5 ... 10, 8 ... 16 | ||||||||||
psi | 145…320 290…406 | 2.9 ... 14.5 , 11.6 ... 36.2 , 29 ... 72.5 65 ... 145 , 116 ... 232 | ||||||||||||
Допустимая температура хранения молока | Ambient Allowed Temperature | ˚C | 80 + ... 10 - | |||||||||||
˚F | 176+ ... 14 + | |||||||||||||
Материал деталей
Металлическое уплотнительное седло и заглушка | Seat and Plug metal sealing | Стандарт | Standard | 410 Stainless Steel | |||
По заказаку | Special | Stainless Steel 304 | |||||
Мягкая уплотнительная заглушка | Plug soft sealing | PTFE with 15% glass fiber | |||||
Номинальное давление | Nominal Press. | (DIN) | PN40 | PN25 | PN16 | ||
Материал корпуса | Body Material | Stainless steel S.S 316 1.4408 | Cast iron GGG-40.3 EN-JS1025 | Cast iron GG25 EN-JL1040 | |||
Номинальное давление | Nominal Press. | (ANSI) | Class 150/300 | ||||
Материал корпуса | Body Material | Stainless steel A 351CF8M | Cast steal A 216WCB | ||||
Балансировочные и уплотнительные сильфоны | Balancer and Sealing Bellows | Stainless steel 316L / (WN 1.4571) | |||||
Сильфонный привод | Actuator Bellows | Stainless steel 316L / (WN 1.4571) | |||||
Прокладка корпуса | Body Gasket | Графит с металлическим сердечником | Graphite with metal Core | ||||
Привод | Actuator | ST | |||||
Диафрагма | Diaphragm | С армированным волокном EPDM | |||||
График температура – давление:
На данных диаграммах, построенных в соответствии со стандартами DIN и ANSI, показаны различные характеристики и давления в зависимости от температуры в разных материалах.
График согласно DIN

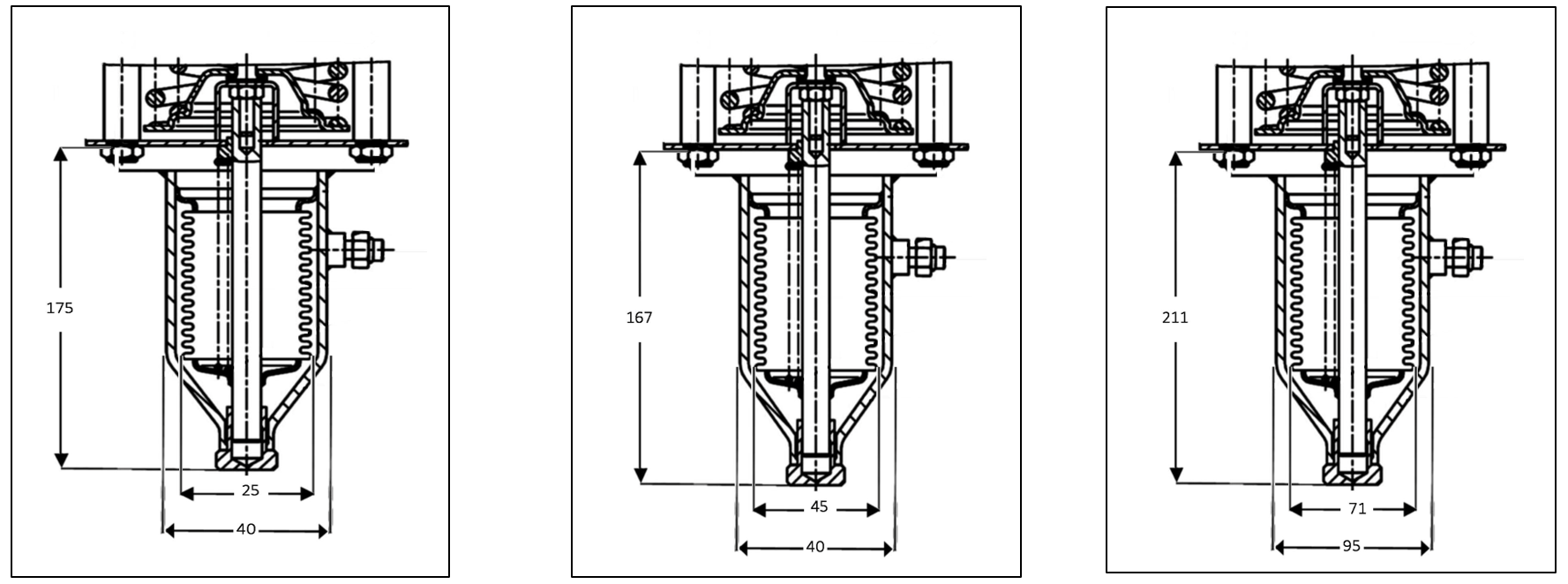
Схема размеров


Ниже представлены (металлические) приводы с сильфонами трех различных размеров, которые производятся в компании «Эйваз». Эти приводы можно использовать для управления и снижения давления, когда жидкость имеет коррозионные эффекты, или снижения выходного давления для тех дополнительных диапазонов, которые можно использовать с приводом с диафрагмой. Эти типы приводов полезны для управления диапазонами 10~22 бар, 150~300 фунтов на кв. дюйм, 20~28 бар, 300~400 фунтов на кв. дюйм. Свяжитесь с отделом продаж, чтобы выбрать размер привода.
